宁波喝茶工作室,西安茶海选茶报名入口,上海喝茶品茶大选场子安排

诸城杀菌锅的操作规程标准 来源:本站 日期:2018-06-30 06:20:00 点击:719 ?字体:
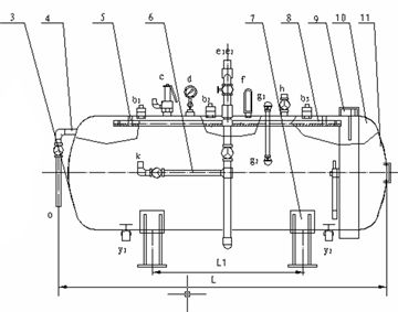
诸城杀菌锅虽然是属于锅类型的 ,但它不像我们平常使用的普通锅一样简单操作,它是有自己的正规的操作流程的,一般罐头食品厂对罐头做常压水煮加热杀菌处理时都采用了一种卧式杀菌锅,本设备通过引入了压缩空气可以实现反压杀菌。如需冷却需要在锅内进行,需要用水泵打入锅顶部的喷水管或者是采用水循环系统。

 
在杀菌的时候,由于加热致使罐头的温度升高了,罐头内压力会超过罐外的压力。为了避免杀菌时玻璃瓶内增压二导致跳盖,对于马口铁罐两端面凸出的,要施加反压力,特别是对需要较高杀菌温度的肉类罐头就更得需要了。
使用反压力的杀菌,就是用压缩空气通入锅内增加一定的压力,防止罐头凸罐和跳盖,它的操作情况如下:
由于压缩空气是不良导热体,况且蒸汽本身又具有一定的压力。在杀菌升温的过程中,不放进压缩空气,而只是在达到杀菌的温度后处于保温时,才开放压缩空气进入锅内,使锅内增加0.5~0.8个大气压。在经过杀菌后,降温冷却时,停止了供应蒸汽,将冷却水压入喷水管后。由于锅内的温度下降,导致蒸汽迅速冷凝了,而使锅内力降低采用了压缩空气的压力来补偿。
在杀菌的过程中,应该注意最初的排气,使蒸汽可以互相流通。也可每隔15-20分钟放气一次,可以促进热交换。总之要满足杀菌条件的规定,按一定的流程进行,杀菌温度的高低和杀菌压力的大小,杀菌时间的长短和操作方法等都是由罐头产品的杀菌工艺做出的具体规定。诸城杀菌锅的使用维护与保养,诸城杀菌锅也应该定期检查,每半年至少进行一次外部的检查,每一年至少进行一次的全面检验,检验前的准备工作和检验项目,都是按规程和有关规定进行的,检验的报告要存档备案。在设备停用时,应该将杀菌锅和锅盖的内外表面都要清洗干净。外露的加工表面刷上一层防锈漆,安全检测控制仪表要放上罩封保护。
 
在操作诸城杀菌锅时一定要按照正规流程操作,这样才能使用效果好,诸城杀菌锅值得你放心购买!
杀菌锅有何特别的优点你知道吗? 怎样辨别双层杀菌锅的设备的类型
联系我们

联 系 人:崔经理

销售热线:15863610688

公司电话:0536-2161826

公司邮箱:cch2018315@163.com

公司地址:山东省潍坊市诸城市昌城孙村社区

主站蜘蛛池模板: 通山县| 永胜县| 漳平市| 荣成市| 屏东市| 双鸭山市| 建始县| 惠东县| 剑川县| 旬阳县| 安新县| 晋州市| 黄陵县| 双江| 临夏县| 庐江县| 乌苏市| 开封市| 阿鲁科尔沁旗| 始兴县| 大丰市| 高安市| 麻城市| 平果县| 开平市| 金塔县| 大姚县| 华亭县| 观塘区| 乌拉特中旗| 汉川市| 万载县| 海南省| 阳信县| 永济市| 水城县| 彩票| 石家庄市| 讷河市| 轮台县| 富民县|